Размер шрифта
Цвет фона и шрифта
Изображения
Озвучивание текста
Обычная версия сайта
МПО ПРОМЕТЕЙ
Работаем для Вас
уже более 5 лет!
7 (922) 178-81-77
7 (922) 178-81-77
8(800)550-83-35
E-mail
zakaz@mpo-prometey.ru
info@mpo-prometey.ru
Адрес
г. Астрахань. ул. Рождественского, дом 17
Режим работы
Пн. – Пт.: с 9:00 до 18:00 Сб. - Вс.: выходные
Каталог
  • Дорожные металлические трубы
    • Трубы ЛМГ (МГК)
    • Спиральновитые трубы (ГСМТ)
    • Гофрированные арки
  • Барьерные дорожные ограждения
    • Дорожные ограждения 11ДО
    • Дорожные ограждение 11ДД
    • Мостовые ограждения 11МО
    • Тросовое ограждение 23ДД
  • Пешеходное ограждение
  • Опоры освещения металлические
    • Несиловые опоры освещения
    • Силовые опоры освещения
Услуги
  • Строительно-монтажные работы
    • Установка пешеходного ограждения
    • Защитное покрытие металлоконструкций
    • Монтаж гофрированных труб
  • Установка барьерного ограждения
  • Инженерное сопровождение
  • Инженерный расчет
Калькулятор
Доставка и оплата
О предприятии
  • О предприятии
  • Благодарственные письма
  • Вакансии
  • ГОСТы и техническая документация
  • Реквизиты
  • Статьи
  • Новости
Фотогалерея
Контакты
Астрахань
Астрахань
г. Астрахань. ул. Рождественского, дом 17
Пн. – Пт.: с 9:00 до 18:00; Сб. – Вс.: выходные
zakaz@mpo-prometey.ru
7 (922) 178-81-77
7 (922) 178-81-77
8(800)550-83-35
E-mail
zakaz@mpo-prometey.ru
info@mpo-prometey.ru
Адрес
г. Астрахань. ул. Рождественского, дом 17
Режим работы
Пн. – Пт.: с 9:00 до 18:00 Сб. - Вс.: выходные
+7 (922) 178-81-77
Заказать звонок
МПО ПРОМЕТЕЙ
Работаем для Вас
уже более 5 лет!
Каталог
  • Дорожные металлические трубы
    Дорожные металлические трубы
    • Трубы ЛМГ (МГК) —
    • Спиральновитые трубы (ГСМТ) —
    • Гофрированные арки
  • Барьерные дорожные ограждения
    Барьерные дорожные ограждения
    • Дорожные ограждения 11ДО —
    • Дорожные ограждение 11ДД —
    • Мостовые ограждения 11МО —
    • Тросовое ограждение 23ДД
  • Пешеходное ограждение
    Пешеходное ограждение
  • Опоры освещения металлические
    Опоры освещения металлические
    • Несиловые опоры освещения —
    • Силовые опоры освещения
Услуги
  • Строительно-монтажные работы
    Строительно-монтажные работы
    • Установка пешеходного ограждения —
    • Защитное покрытие металлоконструкций —
    • Монтаж гофрированных труб
  • Установка барьерного ограждения
    Установка барьерного ограждения
  • Инженерное сопровождение
    Инженерное сопровождение
  • Инженерный расчет
    Инженерный расчет
Калькулятор
Доставка и оплата
О предприятии
  • О предприятии
  • Благодарственные письма
  • Вакансии
  • ГОСТы и техническая документация
  • Реквизиты
  • Статьи
  • Новости
Фотогалерея
Контакты
    МПО ПРОМЕТЕЙ
    Каталог
    • Дорожные металлические трубы
      Дорожные металлические трубы
      • Трубы ЛМГ (МГК) —
      • Спиральновитые трубы (ГСМТ) —
      • Гофрированные арки
    • Барьерные дорожные ограждения
      Барьерные дорожные ограждения
      • Дорожные ограждения 11ДО —
      • Дорожные ограждение 11ДД —
      • Мостовые ограждения 11МО —
      • Тросовое ограждение 23ДД
    • Пешеходное ограждение
      Пешеходное ограждение
    • Опоры освещения металлические
      Опоры освещения металлические
      • Несиловые опоры освещения —
      • Силовые опоры освещения
    Услуги
    • Строительно-монтажные работы
      Строительно-монтажные работы
      • Установка пешеходного ограждения —
      • Защитное покрытие металлоконструкций —
      • Монтаж гофрированных труб
    • Установка барьерного ограждения
      Установка барьерного ограждения
    • Инженерное сопровождение
      Инженерное сопровождение
    • Инженерный расчет
      Инженерный расчет
    Калькулятор
    Доставка и оплата
    О предприятии
    • О предприятии
    • Благодарственные письма
    • Вакансии
    • ГОСТы и техническая документация
    • Реквизиты
    • Статьи
    • Новости
    Фотогалерея
    Контакты
      Астрахань
      7 (922) 178-81-77
      8(800)550-83-35
      E-mail
      zakaz@mpo-prometey.ru
      info@mpo-prometey.ru
      Адрес
      г. Астрахань. ул. Рождественского, дом 17
      Режим работы
      Пн. – Пт.: с 9:00 до 18:00 Сб. - Вс.: выходные
      МПО ПРОМЕТЕЙ
      Телефоны
      7 (922) 178-81-77
      8(800)550-83-35
      E-mail
      zakaz@mpo-prometey.ru
      info@mpo-prometey.ru
      Адрес
      г. Астрахань. ул. Рождественского, дом 17
      Режим работы
      Пн. – Пт.: с 9:00 до 18:00 Сб. - Вс.: выходные
      МПО ПРОМЕТЕЙ
      • Каталог
        • Каталог
        • Дорожные металлические трубы
          • Дорожные металлические трубы
          • Трубы ЛМГ (МГК)
          • Спиральновитые трубы (ГСМТ)
          • Гофрированные арки
        • Барьерные дорожные ограждения
          • Барьерные дорожные ограждения
          • Дорожные ограждения 11ДО
          • Дорожные ограждение 11ДД
          • Мостовые ограждения 11МО
          • Тросовое ограждение 23ДД
        • Пешеходное ограждение
        • Опоры освещения металлические
          • Опоры освещения металлические
          • Несиловые опоры освещения
            • Несиловые опоры освещения
            • Опора несиловая фланцевая граненая НФГ
            • Опоры освещения граненые коническая ОГК
          • Силовые опоры освещения
            • Силовые опоры освещения
            • Опоры граненные силовые ОГС
            • Опоры силовые фланцевые граненые СФГ
      • Услуги
        • Услуги
        • Строительно-монтажные работы
          • Строительно-монтажные работы
          • Установка пешеходного ограждения
          • Защитное покрытие металлоконструкций
          • Монтаж гофрированных труб
        • Установка барьерного ограждения
        • Инженерное сопровождение
        • Инженерный расчет
      • Калькулятор
      • Доставка и оплата
      • О предприятии
        • О предприятии
        • О предприятии
        • Благодарственные письма
        • Вакансии
        • ГОСТы и техническая документация
        • Реквизиты
        • Статьи
        • Новости
      • Фотогалерея
      • Контакты
      • Астрахань
        • Города
        • Астрахань
        • Барнаул
        • Белгород
        • Владивосток
        • Владикавказ
        • Волгоград
        • Воронеж
        • Екатеринбург
        • Иваново
        • Иркутск
        • Казань
        • Калининград
        • Краснодар
        • Красноярск
        • Москва
        • Нижний Новгород
        • Новосибирск
        • Новый Уренгой
        • Омск
        • Пермь
        • Ростов-на-Дону
        • Рязань
        • Самара
        • Санкт-Петербург
        • Саратов
        • Севастополь
        • Симферополь
        • Сочи
        • Тверь
        • Тюмень
        • Ульяновск
        • Уфа
        • Хабаровск
        • Челябинск
        • Якутск
        • Ярославль
      • 7 (922) 178-81-77
        • Телефоны
        • 7 (922) 178-81-77
        • 8(800)550-83-35
      • г. Астрахань. ул. Рождественского, дом 17
      • zakaz@mpo-prometey.ru
        info@mpo-prometey.ru
      • Пн. – Пт.: с 9:00 до 18:00 Сб. - Вс.: выходные

      Барьерные ограждения 11ДО

      Главная
      —
      Продукты
      —
      Металлические барьерные дорожные ограждения
      —Барьерные ограждения 11ДО
      Фильтр
      По популярности (возрастание)
      По наименованию (А-Я)
      По наименованию (Я-А)
      По популярности (возрастание)
      По популярности (убывание)
      По цене (сначала дешёвые)
      По цене (сначала дорогие)
      Фильтр
      Статус
      Показать:
      Выбрано: 0 Показать
      Выбрано: 0
      ГОСТ
      26804-2012
      Покрытие
      гор.цинк.
      СТО
      35427189-001-2019
      Шаг стойки, м
      4
      Дорожное ограждение 11ДО-4-130 кДж У1
      Дорожные ограждения 11ДО
      Дорожное ограждение 11ДО-4-130 кДж У1
      В наличии
      ГОСТ
      26804-2012
      Покрытие
      350
      СТО
      35427189-001-2019
      Шаг стойки, м
      3
      Дорожное ограждение 11ДО-3-350 кДж У5
      Дорожные ограждения 11ДО
      Дорожное ограждение 11ДО-3-350 кДж У5
      В наличии
      ГОСТ
      26804-2012
      Покрытие
      гор.цинк.
      СТО
      35427189-001-2019
      Шаг стойки, м
      3
      Дорожное ограждение 11ДО-3-130 кДж У1
      Дорожные ограждения 11ДО
      Дорожное ограждение 11ДО-3-130 кДж У1
      В наличии
      ГОСТ
      26804-2012
      Покрытие
      гор.цинк.
      СТО
      35427189-001-2019
      Шаг стойки, м
      2,5
      Дорожное ограждение 11ДО-2,5-190 кДж У2
      Дорожные ограждения 11ДО
      Дорожное ограждение 11ДО-2,5-190 кДж У2
      В наличии
      ГОСТ
      26804-2012
      Покрытие
      гор.цинк.
      СТО
      35427189-001-2019
      Шаг стойки, м
      3
      Дорожное ограждение 11ДО-2-500 кДж У8
      Дорожные ограждения 11ДО
      Дорожное ограждение 11ДО-2-500 кДж У8
      В наличии
      ГОСТ
      26804-2012
      Покрытие
      гор.цинк.
      СТО
      35427189-001-2019
      Шаг стойки, м
      2
      Дорожное ограждение 11ДО-2-450 кДж У7
      Дорожные ограждения 11ДО
      Дорожное ограждение 11ДО-2-450 кДж У7
      В наличии
      ГОСТ
      26804-2012
      Покрытие
      гор.цинк.
      СТО
      35427189-001-2019
      Шаг стойки, м
      2
      Дорожное ограждение 11ДО-2-250 кДж У3
      Дорожные ограждения 11ДО
      Дорожное ограждение 11ДО-2-250 кДж У3
      В наличии
      ГОСТ
      26804-2012
      Покрытие
      гор.цинк.
      СТО
      35427189-001-2019
      Шаг стойки, м
      2
      Дорожное ограждение 11ДО-2-190 кДж У2
      Дорожные ограждения 11ДО
      Дорожное ограждение 11ДО-2-190 кДж У2
      В наличии
      ГОСТ
      26804-2012
      Покрытие
      гор.цинк.
      СТО
      35427189-001-2019
      Шаг стойки, м
      1,5
      Дорожное ограждение 11ДО-1,5-300 кДж У4
      Дорожные ограждения 11ДО
      Дорожное ограждение 11ДО-1,5-300 кДж У4
      В наличии
      ГОСТ
      26804-2012
      Покрытие
      гор.цинк.
      СТО
      35427189-001-2019
      Шаг стойки, м
      1
      Дорожное ограждение 11ДО-1-450 кДж У7
      Дорожные ограждения 11ДО
      Дорожное ограждение 11ДО-1-450 кДж У7
      В наличии
      1 2 3

      Барьерные дорожные ограждения типа 11ДО – это односторонние конструкции, предназначенные для установки на обочинах автомобильных дорог, в том числе мостов. Для сборки группы требуются как минимум три элемента: начальный участок 11ДО-Н, рабочий 11ДО-S и конечный 11ДО-K.

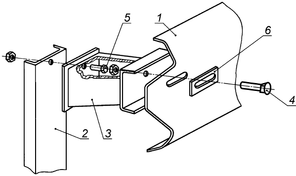
      В состав мостовых и дорожных ограждений 11ДО входят балки, стойки, консоли и катафоты. Балка – горизонтальная часть конструкции, которая в случае столкновения с транспортным средством не дает ему покинуть полосу. Балки устанавливаются на стойки через консоли, которые могут быть стандартными или амортизирующими. Последние при ударе сминаются, поглощая энергию удара. Для соединения элементов между собой используются гайки, болты и шайбы ГОСТ 7802.

      Сферы применения ограждений 11ДО

      Барьерные ограждения типа 11ДО нашли широкое применение в дорожном строительстве как в России, так и в США, странах Европы и Скандинавии. Они предназначены для нескольких задач:

      • снижение риска съезда транспортного средства с дороги и выезда в обочину;
      • ограничение доступа диких животных и крупного рогатого скота к автотрассе;
      • препятствование пешеходам в несанкционированном выходе на магистраль.

      В целом ограждения призваны удерживать автомобили на дороге в случае потери управления, и тем самым обеспечивать безопасность дорожного движения по полотну. Есть также двухсторонние конструкции, которые монтируются между полосами дороги и предотвращают выезд на встречку.

      В чем преимущества?

      Ограждения типа 11ДО так популярны благодаря большому ряду достоинств, в числе которых высокая прочность, способность выдерживать резкие перепады температур, устойчивость к коррозии, влаге и другим неблагоприятным факторам. Элементы конструкции легко и быстро устанавливаются, что позволяет в кратчайшие сроки обеспечить автомагистраль любой протяженности защитой обочин.

      Чтобы купить односторонние барьеры по рекомендованной производителем цене, оформите свой заказ в монтажно-производственном объединении «Прометей». Товары всегда на складе, есть быстрая доставка по России. Продукция изготавливается с соблюдением государственных стандартов ГОСТ 26804-2012 и технического обслуживания СТО 35427189-001-2019.

      Калькулятор барьерных ограждений


      Ограждения дорожные 11ДО с жесткими консолями
      Обозна-чение марки Высота ограж-дения , м Уровень удерживающей способности Сечение стойки - швеллер Толщина листа балки , мм Шаг стоек , м Прогиб динамический , м Заглубление стоек в грунт, (минимальное), м
      11-ДО 0,75 У1 N 12 3 2,0 1,50 1,10
      N 14* 4,0 1,50 1,10
      N 12 4 2,5 1,50 1,10
      N 14 3,0 1,50 1,10
      У2 N 12 3 1,5 1,50 1,10
      N 14* 2,0 1,25 1,10
      N 16 2,5 1,25 1,10
      N 14 4 2,0 1,25 1,10
      N 16** 4,0 1,50 1,10
      У3 N 14* 3 1,33 1,50 1,20
      N 16** 2,0 1,50 1,20
      N 12 4 1,0 1,50 1,10
      N 14* 1,5 1,25 1,10
      N 16** 2,0 1,0 1,10
      У4 N 16** 3 1,5 1,00 1,20
      N 14* 4 1,0 1,25 1,10
      N 16** 2,0 1,10 1,10

      * Могут быть применены стойки из гнутого С-образного профиля 12055185 мм по ГОСТ 8282.*

      1 - балка; 2 - стойка; 3 - консоль жесткая; 4 - болт М1645.5.8; 5 - болт М1630.5.8; 6 - шайба 80404 мм
      Рисунок 1 - Одностороннее дорожные ограждение с жесткой консолью.

      Односторонние дорожные ограждения с консолями-амортизаторами
      Обозначение марки Высота ограждения , м Уровень удерживающей способности Сечение стойки - двутавр Толщина листа балки , мм Шаг стоек , м Прогиб динамический , м Эскиз
      11-ДО 0,75 У1 N 12 3 2,5 1,0 Барьерные ограждения
      N 12 4 3,0 1,25 Барьерные ограждения
      У2 N 12 3 1,5 1,0 Барьерные ограждения
      N 12 4 2,0 1,0 Барьерные ограждения
      N 14 2,5 1,25 Барьерные ограждения
      У3 N 12 3 1,0 1,0 Барьерные ограждения
      N 12 4 1,0 1,0
      N 14 2,0 1,0 Барьерные ограждения
      У4 N 14 4 1,0 1,0 Барьерные ограждения
      • Дорожные металлические трубы
        • Трубы ЛМГ (МГК)
        • Спиральновитые трубы (ГСМТ)
        • Гофрированные арки
      • Барьерные дорожные ограждения
        • Дорожные ограждения 11ДО
        • Дорожные ограждение 11ДД
        • Мостовые ограждения 11МО
        • Тросовое ограждение 23ДД
      • Пешеходное ограждение
      • Опоры освещения металлические
        • Несиловые опоры освещения
          • Опора несиловая фланцевая граненая НФГ
          • Опоры освещения граненые коническая ОГК
        • Силовые опоры освещения
          • Опоры граненные силовые ОГС
          • Опоры силовые фланцевые граненые СФГ
      Компания
      О предприятии
      Благодарственные письма
      Вакансии
      ГОСТы и техническая документация
      Реквизиты
      Статьи
      Новости
      Каталог
      Дорожные металлические трубы
      Барьерные дорожные ограждения
      Пешеходное ограждение
      Опоры освещения металлические
      Услуги
      Строительно-монтажные работы
      Установка барьерного ограждения
      Инженерное сопровождение
      Инженерный расчет
      Офис: г. Екатеринбург,
ул. Высоцкого, 4б, оф. 24
      Производство: г. Екатеринбург, ул. Цвиллинга, дом 7ч
      Часы работы:
      Пн. – Пт.: с 9:00 до 18:00
      Сб. – Вс.: выходные
      7 (922) 178-81-77
      7 (922) 178-81-77
      8(800)550-83-35
      Режим работы
      Пн. – Пт.: с 9:00 до 18:00 Сб. - Вс.: выходные
      zakaz@mpo-prometey.ru
      info@mpo-prometey.ru
      Доставка и оплата
      Сертификаты
      Реквизиты
      Контакты
      © 2026 "mpo-prometey.ru"
      Все права защищены.
      Политика конфиденциальности
      Карта сайта
      Разработка и продвижение сайта
      Калькулятор
      Главная Каталог Услуги Контакты